欢迎访问宿州市残疾人联合会!
繁體中文
加入收藏
首页
网站首页
政府信息公开
在线办事
新闻中心
政策法规
下载中心
互动交流
图片风采
站内搜索:
本站
站群
搜索
当前位置:
首页
>
信息公开
>
通知公告
公示
发布日期:2025-12-09 08:39
来源: 宿州市残疾人联合会
编辑:办公室
阅读次数:
字号:
大
中
小
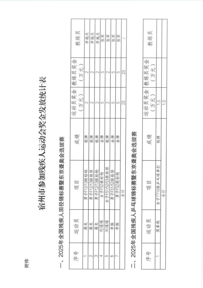
公示.pdf
扫一扫在手机打开当前页
打印
智能问答
宿事速办
微信
微博
分享